

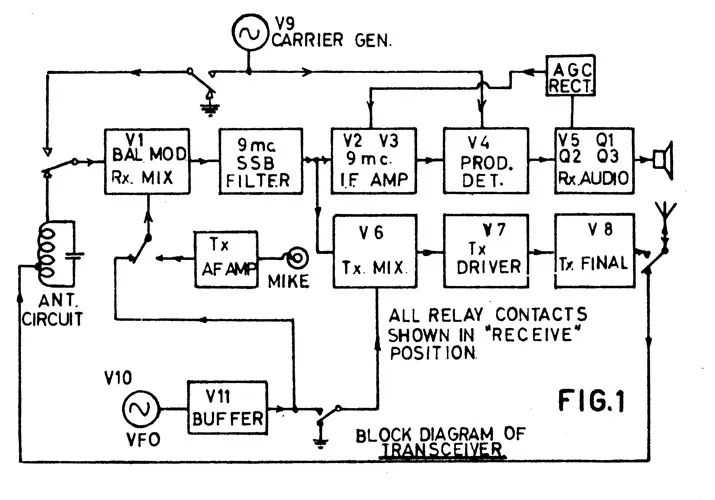
我于1964年1月开始设计。在晚上和周末工作,这个项目花了6个月的时间才完成。这个电台的结构是独特的,因为RCA-7360波束偏转混频器是双重功能的:接收器前端和发射器平衡调制器。在接收时,预选器的输出被应用到网格上,而本地振荡器被应用到偏转板上。在发射时,9MHz载波被应用到网格上,麦克风音频被应用到偏转板上。(见下面的方框图)。这种方法使电子管的数量保持在11个。接收器音频输出级、AGC/S-表电路、VOX和发射器语音放大器是固态的。
ZS6XT混合型20米SSB/CW收发机(1964年)

前面板。左边是主调谐盘(Muirhead游标)和接收机控制,中间是驱动器调谐,右边是PA调谐和加载。

收发器的方框图
请注意,天线。CIRCUIT是一个单调谐电路,在14MHz时是平行谐振,在4MHz时是串联谐振的图像频率。这确保了足够的图像抑制。
20米SSB/CW收发器的真空电子管型号:
V17360RxMixer/TxBalMod
V2EF183(6EH7)第一中频放大器
V3EF89(6DA6)第二中频放大器
V4ECC82(12AU7)产品检波(后来被7360取代)*。
V5ECC81(12AT7)第一AF放大器
V6ECC81(12AT7)Tx混合器
V7EL83(6CK6)Tx驱动器
V8QQE06-40(5894)TxPA(因其出色的线性度而被选中)
V9ECC81(12AT7)9MHz载波发生器
V10EF91(6AM6)5~5.5MHzVFO
V11ECF89(6U8)VFO带通缓冲器/阴极跟随器
*在9MHz中频晶体滤波器的通带之外,极强的接收信号(200mV)被滤波器的60dB阻带衰减所打击,并导致12AU7产品检波器的交叉调制。一个重新设计的产品检波器,使用第二个7360,纠正了这个问题。
性能规格:一般情况下
频率范围:14.000-14.500MHz
模式:USB,LSB,CW
接收器:
灵敏度:0.2µV(-122dBm)for10dB(S+N)/N
MDS=-132dBm(50Ω)
噪声系数(测量):4.3dB,14250kHz,2.7kHz中频带宽
选择性:2.7kHz@-6dB,3.9kHz@-55dB
图像抑制:优于-60dB
杂散反应:-80dB
交叉调制动态范围:94dB,指的是在25kHz偏移和2.7kHz中频带宽下的-101dBm期望信号
(在那个时代是惊人的!)
发射器:
功率输出:65WPEP,65WCWinto50Ω
载波抑制:-60dBc
无用边带抑制:-55dBc
杂散信号:优于-50dBc
三阶互调:-在65WPEP输出下,-37dBc(比2音PEP低43dB)。

机箱的俯视图,左边是VFO,右边是PA笼。注意左后方的7360管和9MHz晶体滤波器。

机箱底部(去除屏蔽层)。
注意右下角的7360混频器室,右边的中频条,中间的音频/VOX板和激励器调谐电容,左上角的天线继电器,PA管插座就在它下面。
