你相信吗?1亿头牛就采用类似于“驴拉磨”的方式,每年就可以为我国创造出10亿马力的电量,相当于20个三峡水电站的发电总量(长江三峡水电站发电总量为5千万马力)。
换做以前,我是不相信的,但是随着一个名叫“畜力驱动立式差动发电机”的实用新型出现,这个事情被证实了,那这个实用新型靠谱吗?为什么是用牛而不用其他的牲畜呢?有没有成功的案例呢?这个方法到底环不环保、值不值得推广呢?

这个问题得从机器的工作原理、售价、产生的经济效益以及是否可以投入生产这几个方面来做一个简要的分析。
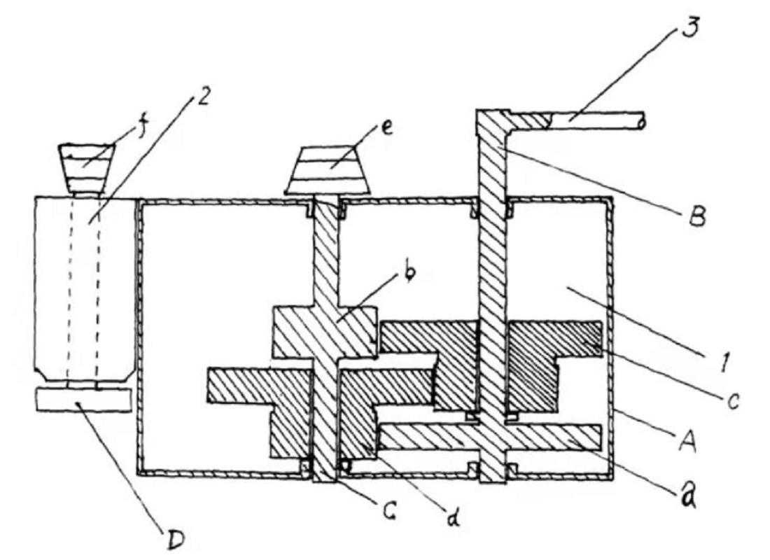
首先我们先来看一下这个机器的工作原理,这个机器主要是由8个大大小小的转轮、一个发电组件以及一堆支架组件,如底座、圆筒、大托盘等构成的,整个机器的高度为0.8米,转轮上方有两根6米长的推动杆,十字分布,四端分别由四头牛来拉动。

当人把四头牛牵引到机器的指定位置后,机器上就会有一个类似于棍子一样的东西,督促着牛不断地顺着机器绕圈走,此时由牛带动机器内的一个齿轮进行转动,在相互作用下,机器内的剩余7个齿轮也会随之开始转动,最后再通过这些齿轮的转动,实现发电组件能够较快的开始相对运动,从而实现高效的发电。
从工作原理上来看,这是可行的,而这种机器的价值在10万元左右,虽然有点贵,但是这种机器所配置的是20千瓦的永磁发电机,每小时4头牛给电机输入7NM的力后,发电机就能输出20千瓦的电能,按照每度电0.65元来算,每天就能够创造出312元的经济收益,一年则有113880元的收益。

当然,要实现上方所说的收益,不仅仅需要四头牛,因为牛和人一样,也是需要休息、喝水、吃饭等的,因此这个机器至少需要12头牛,每天每头牛工作八小时,并且还需要有一块25亩左右的玉米地,来保证牛的吃食,这样才能让牛有体力干活,最后因为工作的牛用的是肉牛,因此每一季可以购入一批牛犊,再卖掉一批可以出栏的牛,这也是一笔不小的收入。
而这个机器,经过十多年的努力,已经成功地达到了市场运营的标准,如今已投入生产并接受批量预定了。
从这几个方面来说,这个用牛力发电的实用新型是完全靠谱的,不过这个发明并非首创,早在上个世纪90年代末期,我国就有普通老百姓使用牛力来进行发电的真实案例了,接下来我们一起看看这是怎么回事呢。
我国山东新泰市旧关乡龙石崖村率先尝试用牛力发电!龙石崖村是山东省的一个偏远乡镇,处在泰莱山区,当时该村共有287户人家,一共1001人,起初这些村民都是使用蜡烛或者煤油灯来进行照明的,但是后来在村干部的指导下,全村集资购进了一台畜力发电机,将该机器固定在水泥地上之后,让牛绕着机器转圈,用以拉动畜力传动杆,通过增速箱传动机带动发电机旋转,最终进行发电。

之后再将这些电储存到蓄电池里,通过这种方法,使得整个村庄的人都用上了电,一年不到的时间,村民们就已经赚回了买该发电机的费用了。
实际上大家也应该发现了,这不仅牛力可以用来发电,任何一种牲畜都可以用来发电,只是因为牛的耐力比较好,而且相较于马、骡子、骆驼、驴等动物,牛更常见,所以大部分的畜力发电机用的都是牛。
到这里,大家肯定十分疑惑,现在已经不是以前用不上电的时代了,牛力发电还有什么价值吗?这就不得不提到牛力发电的环保价值了。
牛力发电真的环保吗?有推广的价值吗?首先牛力发电是相对环保的,一方面是它的发电方式非常的简单,它不受限于任何的地形和资源,无需花费大量的时间和成本进行建造,不会破坏当地的生态环境。
二是我国现在的肉牛存栏量一般在1亿头左右,这些牛相对来说属于空置资源,无需耗费其他的资源,而且牛力发电一般是零排放。

而且利用牛力进行发电后,随之产生的牛粪也可以大规模地用于发电,在这块上,欧洲的一些国家以及日本实施得比较早,他们将牧场中的存栏牛产生的牛粪进行冲洗,然后将被清理干净的牛粪放在混合调配室中进行调配,使得牛粪的PH值升高,然后再将其进行15到20天的发酵之后,转化为沼气、沼液等进行发电。而这种发电方式在我国西藏的那嘎村也有实行。

至于这种发电方法值不值得推广这件事,我们首先得拿它和现存的发电技术来做对比,我们国家目前的发电技术主要是火力发电、风力发电、水力发电和光伏发电这四种,但这些发电技术都存在一些弊端。
其中火力发电使用的煤炭,为不可再生资源,全球探明的储量仅有113930亿吨,而且煤炭燃烧后排放的酸性气体会造成酸雨量增加,破坏生态环境。

而风力发电的噪音较大,占地面积也大,并且还存在不稳定和不可控这两种情况,水力发电则受限于地形,一则建造周期长、建造费用高,二则容量较小,也会对周边的水域造成污染等。
光伏发电和风力发电一样,它的占地面积也较大而且由于光照比较复杂,所以光伏发电的效率相对较低,成本较高。
因此和其他的这些发电方式一对比,牛力发电的优势就十分明显了,是值得大面积推广的,而且如果能在用牛力发电的同时,将牛粪发电也大面积应用起来,那每年我们国家就相当于又拥有了20个三峡水电站,这无论从经济价值还是环保价值上来看,都是一个不错的选择。

相信如果能把这个方法在广大的农村地区、牧区和一些贫困地区实行开来,这不仅会给当地的居民增加收入,还可以有效减少环境污染问题。当然牛力发电只是一种创新性的环保发电方式,它不能够完全代替其他的发电方式,你觉得还有哪些值得一试的环保发电方式呢?