装配一台符合自己要求的功放,一直是广大发烧友的愿望,对于现在信息公开透明化的时代,DIY一台自然不是难事,但是早在上个实际1960年代,DynacoMarkIV胆机就是一台组装套件,而且是单声道结构,在那个年代立体声还不是很普及,所以好多烧友只是拥有一部单声道,想要寻求另一部单声道而且工艺相同的机器,在今天看来变得比较困难。

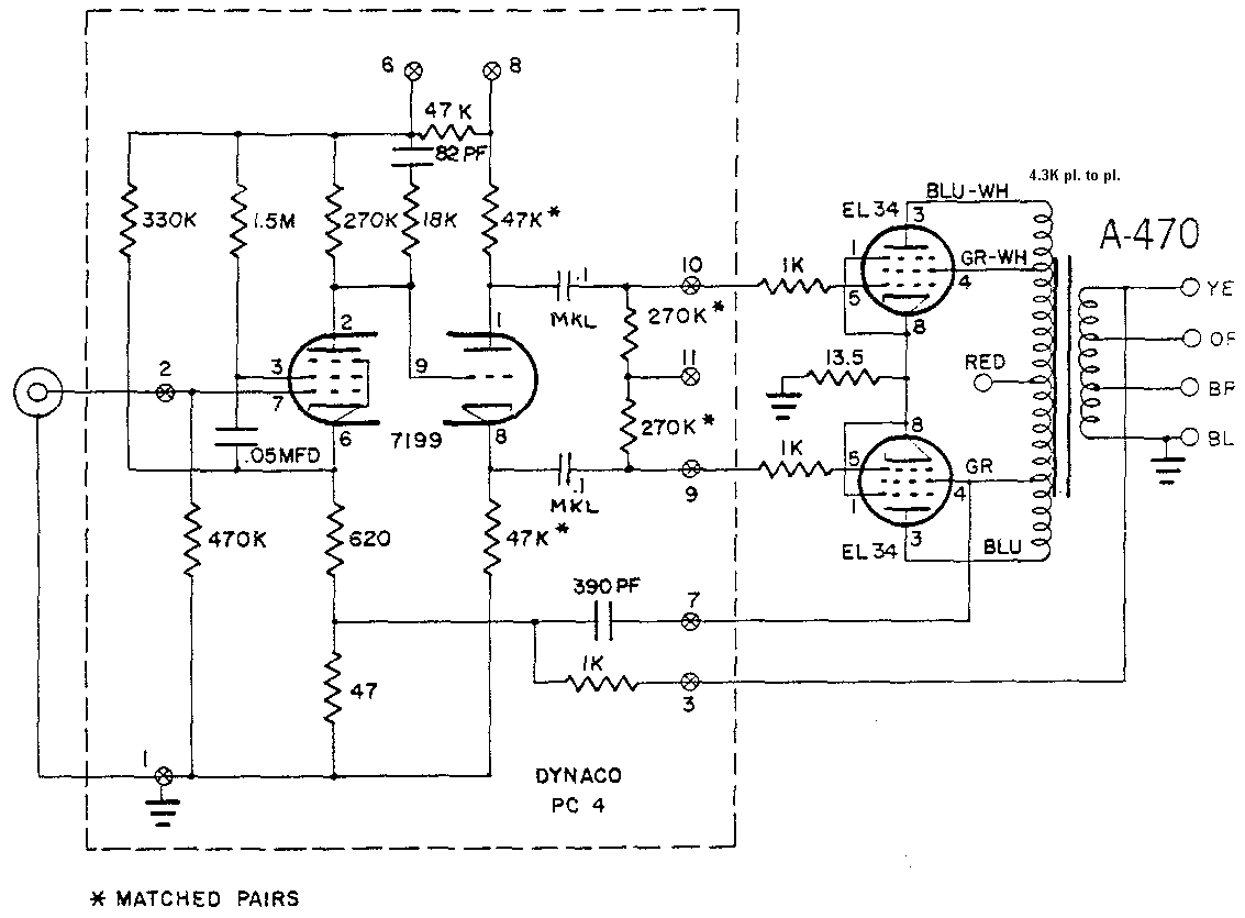
功放使用一对EL-34作为输出电子管,一个7199作为前置驱动器,以及一个很好的老式GZ-34用于整流。每侧输出真正的40瓦功率,频响10-20KHZ+或-.5hz。最大输出功率失真为1%,1W输出时失真为0.05%,并且有4,8,16欧姆抽头用于阻抗不同的音箱。

它同著名的Dynaco放大器ST-70有着相同的配置,但是仅仅拥有一半的功能,所以每个通道逗比ST-70有更好的动态余量。ST-70也是以前包括现在被模仿最多的EL34推挽线路程式,可见其线路之成熟。

即便到了现在数字时代,它仍然可以将大多数音箱推到极大的声压,说明其功率是实实在在的。可以带给您那种温暖和“真实”的感觉,在播放大编制的管弦乐,现在电子音乐,它可能没有那种极强的低频控制能力,但是声音的流动性令人陶醉
电路类型:
推挽式设计(单声道放大器)
功率输出:
每通道40瓦
管道类型:
(2)EL34(6CA7)输出管“MatchedPair”(配对)
(1)7199或6GH8A三角管
(1)GZ34/5AR4整流管
输入灵敏度:
1.3V适用40瓦输出
输入阻抗:
470KOHMS
输出阻抗:
4,8,16OHMS
信噪比:
额定功率低于90DB
由于现在7199电子管变得越来越稀缺,不久的将来,我们可能不得不更换前级放大管来聆听了。
即便对比纯甲类晶体管功放,在声音的韵味上,中频的厚度上,电子管都要优胜一些。

现在已经有烧友将功率管更换为KT88,同时对输出变压器,电源变压器和电路参数进行更改,以获得更高的功率,更好的声音。

由于年代久远,多数线路板已经修修补补许多次,有的已经不复存在。

图上机子线路板用洞洞板代替了,好在又可以使用,和另一台对比声音并无差别。

只是有稍微低频嗡嗡声,几毫伏,低于88DB的音箱就听不到了,没有人会趴在音箱上听歌吧,除非你真的是“发烧友”!